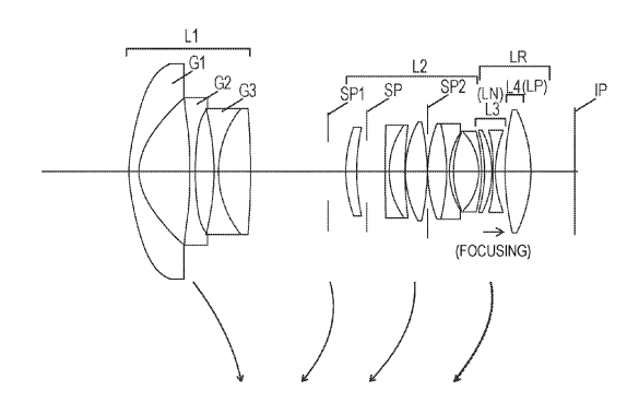
Patent: RF 14-28mm f/2 and RF 10-24mm f/4 Lenses
Canon recently has filed two new RF lens patents in USA and Japan. Both lens patents are RF mount ultra-wide zoom lenses. The first one is RF 14-28mm f/2L USM lens, this lens will pair nicely with the RF 28-70mm f/2L USM lens. The second one is RF 10-24mm f/4L USM lens or RF 12-24mm f/4L USM lens, similar to EF 11-24mm f/4L USM lens.
Canon RF 14-28mm f/2.0 specifications:
- Focal length: 14.42mm 19.78mm 27.16mm
- F-number: 2.06 2.06 2.06
- Half angle of view: 56.32° 47.56° 38.54°
- Image height: 21.64mm 21.64mm 21.64mm
- Total lens length: 164.32mm 150.29mm 146.47mm
- BF: 16.13mm 16.13mm 16.13mm
Canon RF 10-24mm f/4 specifications:
- Focal length: 10.30mm 14.94mm 23.30mm
- F-number: 4.12 4.12 4.12
- Half angle of view: 64.54° 55.38° 42.88°
- Image height: 21.64mm 21.64mm 21.64mm
- Total lens length: 156.50mm 145.83mm 144.37mm
- BF: 12.00mm 12.00mm 12.00mm
Canon RF 12-24mm f/4 specifications:
focal length 12.36 14.94 23.30
F-number 4.12 4.12 4.12
Half angle of view (degree) 60.26 55.38 42.88
Image height 21.64 21.64 21.64
Total lens length 138.50 133.67 130.79
BF 22.49 26.06 37.65
via: CN
