Canon RF 11-24mm f/4L and RF 8-24mm f/4L Fisheye Lenses Patent

According to Northlight-image, Canon recently has filed lens patent for RF 11-24mm f/4L USM and RF 8-24mm f/4L Fisheye USM. The first lens is similar as previous rumored RF 10-24mm f/4L USM lens, which is in the RF lens roadmap for a long time. The second lens is a zoom fisheye lens, this lens will work as a circular fisheye on a full-frame sensor and as a ‘normal’ fisheye on the crop sensors found in the Canon EOS R7 and Canon EOS R10.
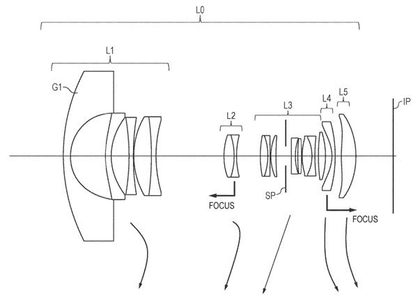
Canon RF 11-24mm f/4L USM optical formula
- Focal Length: 11.33mm – 23.30mm
- F-Number: 4.08
- Half Angle of View: 59.63° – 42.88°
- Image Height: 21.64mm
- Entire Lens Length: 135.40mm – 130.90mm (front element to image sensor)
Canon RF 8-24mm f/4L USM optical formula
- Focal Length:
- F-Number: 4.08
- Half Angle of View:
- Image Height: 21.64mm
- Entire Lens Length:

