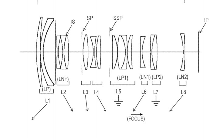
New Patent: RF 70-200mm f/2.8L IS USM Lens
Canon has filed a new lens patent for Canon RF lens. This lens is RF 70-200mm f/2.8L IS USM Lens. As rumored before, Canon will announce the RF 70-200mm f/2.8L IS USM lens in late this year.
US Patent Application 20190004296
- Focal length: 72.00 135.00 194.99
- F-number: 2.92 2.92 2.92
- Half angle of view (deg.): 16.73 9.10 6.33
- Image height: 21.64 21.64 21.64
- Length of the zoom lens : 172.73 227.50 242.86
- BF: 14.38 26.45 39.44
