|

New Canon Patent: RF 90mm f/2.8L IS Macro Lens

Canon has filed a new RF lens patent in Japan: RF 90mm f/2.8L IS Macro Lens.

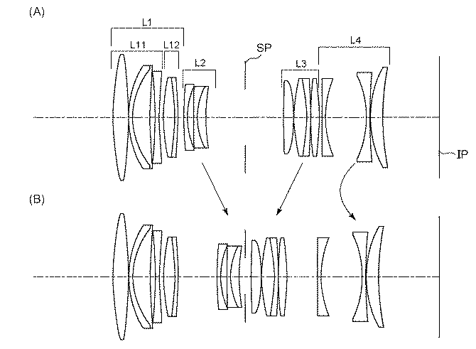
Specification and lens arrangement of embodiment 3
Focal length: 86.00mm
F number: 2.87
Half angle of view: 14.12
Image height: 21.64mm
Lens length: 115.07mm
Back focus: 15.93mm

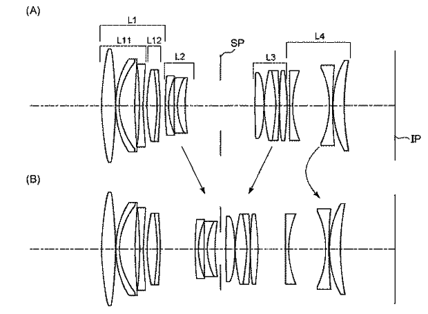
Specification and lens arrangement of embodiment 1
Focal length: 97.00mm
F number: 2.92
Half angle of view: 12.57
Image height: 21.64mm
Lens length: 115.12mm
Back focus: 20.01mm

Similar Posts