Canon RF 135mm f/1.4L USM Lens Patent
Canon has just filed a new lens patent RF 135mm f/1.4L USM lens in Japan.
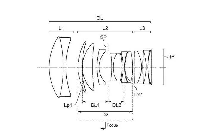
Canon RF 135mm f/1.4L USM:
- Focal length: 131.00mm
- F-Number: 1.41
- Half angle of view: 9.38°
- Image height: 21.64mm
- Total lens length: 182.28mm
- BF: 13.87mm
via: CN
