|

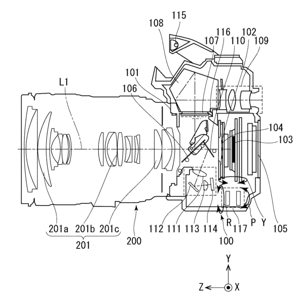
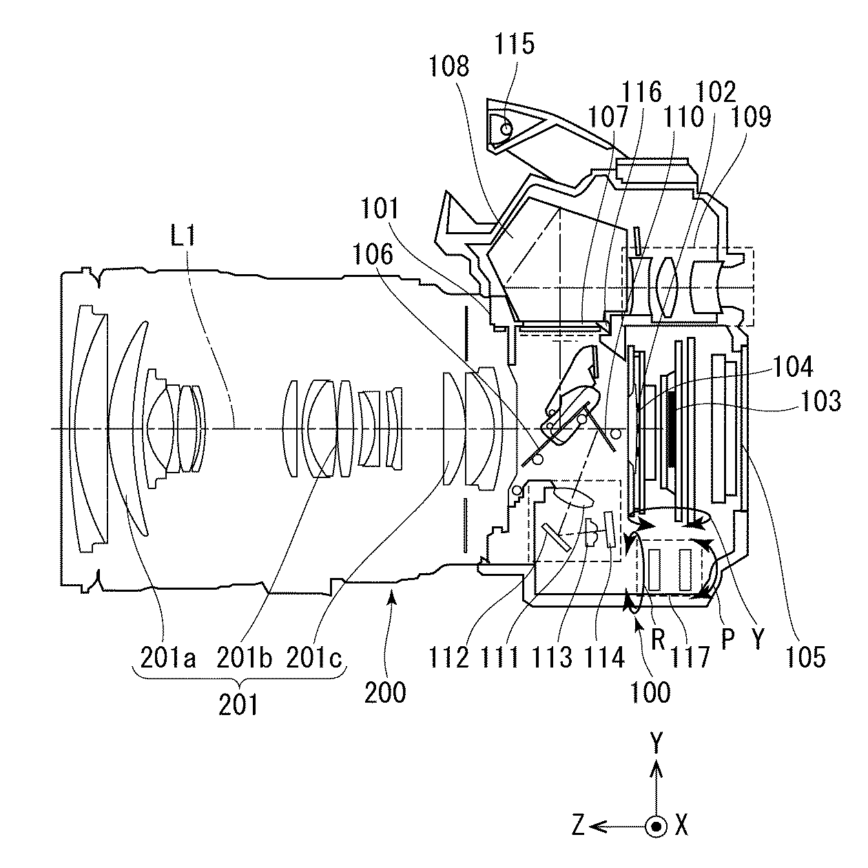
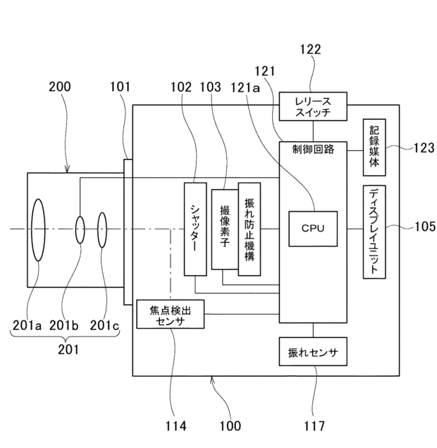
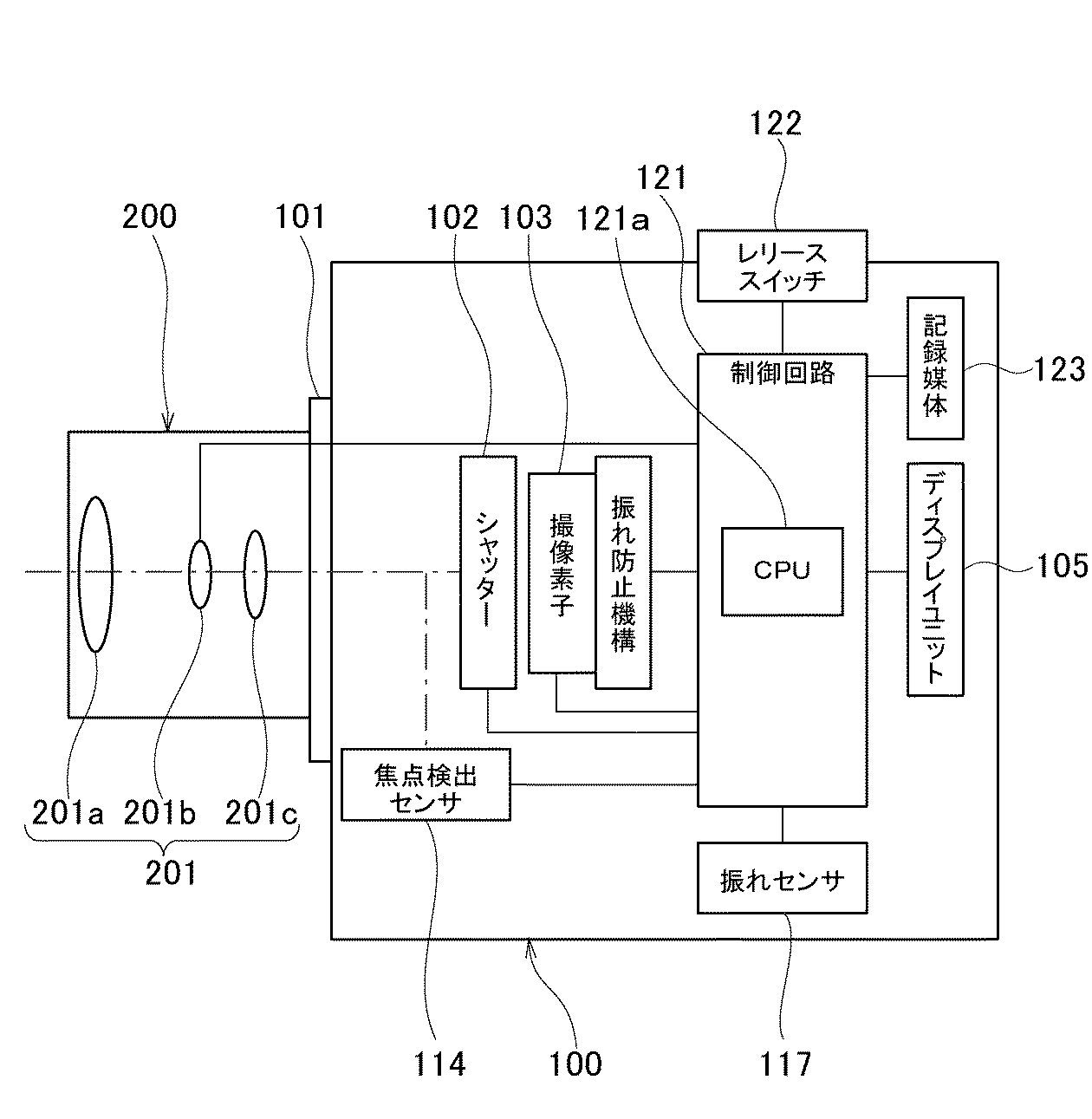
Canon In Body Image Stabilization Patent (For EOS R Pro ?)

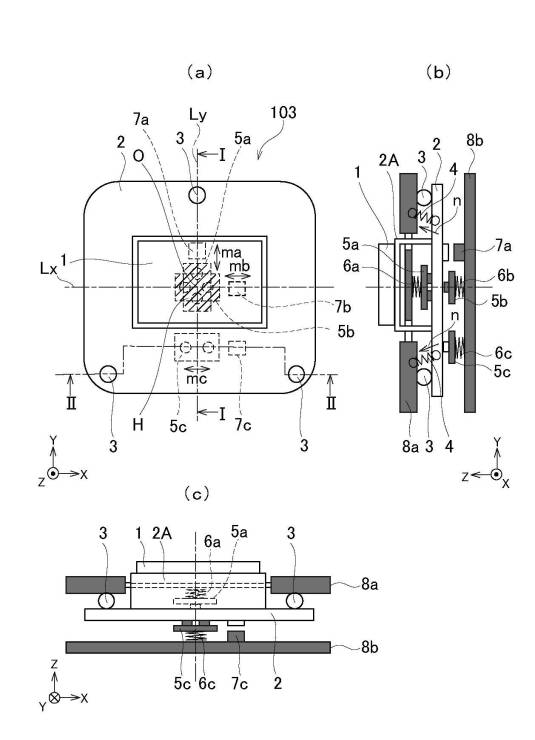
Canon Japan has just filed a new patent “in body image stabilization system for Canon image sensor”. As we already know, the recently released Canon EOS R (B&H/Amazon/Adorama/Focus Camera/WEX/ParkCamera) has no IBIS, maybe we will see IBIS in next Canon EOS R model (EOS R Pro), Canon manager also said we may see IBIS in next Canon EOS R.


Japanese patent application [2018-165756 (P2018-165756A)]

via: Hi-Lows Blog

Get instantly notified by e-mail when Second Canon Full Frame Mirrorless Camera is Available for Pre-order !
Enter Your Email:
*Please also check your spam folder if you don’t get the confirmation mail. And mark the mail as “non-spam” to see the future newsletter.

Follow Canon EOS R on Facebook:

Follow Canon Full Frame Mirrorless on Facebook:

Similar Posts