Tamron Patents: 300mm f/2.8, 400mm f/4, 500mm f/4 Lenses
Tamron has filed several new super telephoto prime lenses in Japan. These lens patents are Tamron 300mm f/2.8 Lens, Tamron 400mm f/4 Lens, Tamron 500mm f/4 Lens.
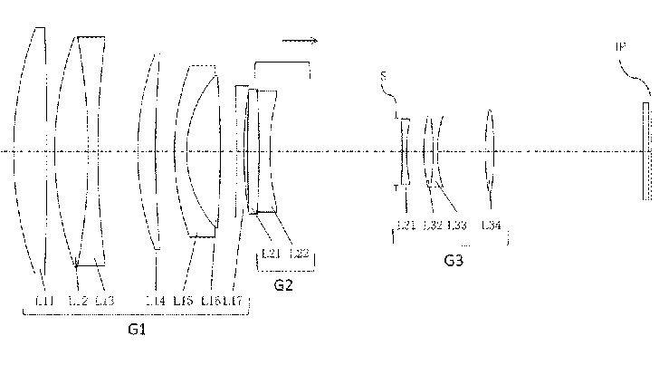
Embodiment 1: 300mm F/2.8
- Focal length: 304.799 mm
- F No.: 2.8
- ω: 3.997
- Image height: 21.64 mm
- Back focus: 70.1919 mm
- Lens length: 298.38 mm
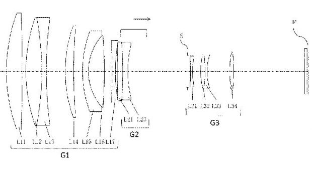
Embodiment 2: 400mm F/4
- Focal length: 396.296 mm
- F No.: 4.0
- ω: 2.963
- Image height: 21.64 mm
- Back focus: 102.3549 mm
- Lens length: 332.36 mm
Embodiment 3: 500mm F/4
- Focal length: 485.045 mm
- F No.: 4.001
- ω: 2.530
- Image height: 21.64 mm
- Back focus: 125.2621 mm
- Lens length: 420.001 mm
via: so-net
