|

Patent: Canon RF 70-400mm f/4.5-5.6L IS USM Lens

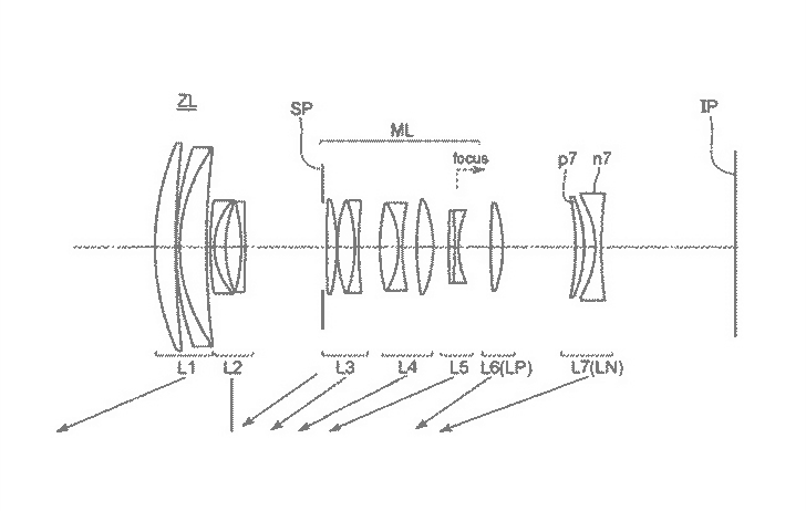
Canon recently has filed a new RF lens patent: RF 70-400mm f/4.5-5.6L IS USM Lens. According to latest rumors, this super telephoto zoom lens is expected to be announced in the first half of 2020.

Canon RF 70-400mm f/4.5-5.6L IS USM:

  • Focal length: 72.62mm 168.49mm 389.89mm
  • F number: 4.07 5.10 5.85
  • Half angle of view: 16.59° 7.32° 3.18°
  • Image height: 21.64mm 21.64mm 21.64mm
  • Total lens length: 187.91mm 236.14mm 268.26mm
  • BF: 13.80mm 27.53mm 35.04mm

via: JPO

Similar Posts