New RF Lens Patents: RF 24-70mm f/2.8L IS & RF 24-300mm f/4-5.6L IS
Canon has announced 4 RF lenses along with EOS R announcement, now according to USPTO, Canon has two more RF lens patents: RF 24-70mm f/2.8L IS USM Lens and RF 24-300mm f/4-5.6L IS USM Lens. Both lenses are likely to be announced in 2019 to 2020.
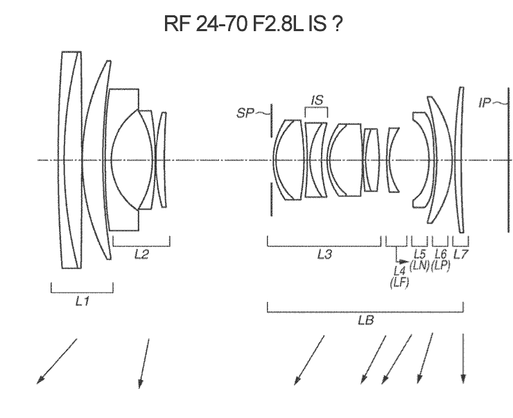
RF 24-70mm f/2.8L IS USM Lens Patent:
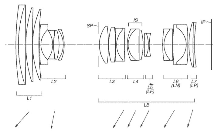
RF 24-300mm f/4-5.6L IS USM Lens Patent:
Via: Northlight Images Source: USPTO



