New Canon Patent: RF 70-240mm f/4 IS and RF 70-300mm f/4-5.6 IS

Canon recently has a lot of RF mount lens patents in the working, here are two more RF mount lens patent: RF 70-240mm f/4 IS and RF 70-300mm f/4-5.6 IS.
- Focal length 72.10mm 131.78mm 242.00mm
- F-number 4.10 4.10 4.10
- Half angle of view 16.70° 9.32° 5.11°
- Image height 21.64mm 21.64mm 21.64mm
- Total lens length 147.22mm 176.39mm 210.90mm
- BF 12.95mm 25.54mm 36.63mm
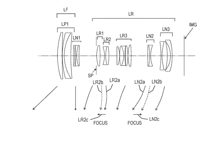
Canon RF 70-300mm f/4-5.6 IS USM:
- Focal length 72.10mm 144.31mm 289.00mm
- F-number 4.60 5.68 5.88
- Half angle of view 16.70° 8.53° 4.28°
- Image height 21.64mm 21.64mm 21.64mm
- Total lens length 136.41mm 169.48mm 201.14mm
- BF 12.95mm 28.75mm 42.22mm